Modul 10: Avslutning
For å runde av innredningskurset perfekt, avslutter vi med et eksempel på hvordan man kan bruke metoden fra A-Å, slik at det hele forhåpentligvis blir enda mer konkret.
Innholdsoversikt
Gratulerer! Du har vært gjennom ni moduler fylt med informasjon, kunnskap, eksempler, oppgaver og gode råd om alt fra fargevalg til mønster- og materialsammensetning, oppmåling, møbelinnkjøp, plassering og styling. Nå er du godt rustet til å leke med innredningen hjemme hos deg selv og skape akkurat det uttrykket som DU drømmer opp.
Det aller viktigste innredningsrådet lyder nemlig slik: Velg det som får deg i godt humør! En veggfarge som tiltrekker og fascinerer noen, kan virke mørk og dyster på andre – og omvendt. Og nettopp derfor er DU den beste innredningskonsulenten til ditt eget hjem.
I denne avslutningsmodulen oppsummerer vi hvordan alle de verktøyene du har blitt kjent med gjennom kurset, spiller sammen. Vi tar deg med på reisen fra idé til ferdig rom. Fra inspirasjon og moodboard via oppmåling, plassering og møbelvalg til styling og ferdig innredning.
EKSEMPEL Metoden i bruk
Fra idé til ferdig rom: STUEMAKEOVER HOS SOFIE OG JAKOB
Sofie, Jakob og deres to barn på tre og sju år bor i en relativt liten leilighet. Familien bruker mye tid i stuen, men drømmer om å gjøre rommet mer funksjonelt og bedre tilpasset behovene deres. To små barn er nemlig ensbetydende med en mengde leketøy, også i stuen. Dessuten har Sofie og Jakob en stor samling bøker som de ikke har lyst til å gjemme bort, men sliter med å finne plass til.
For å skape den innredningen de drømmer om, bruker de verktøyene fra kurset:
- Behovsanalyse
- Moodboard
- Oppmåling
- Møbelvalg
Bli med dem på prosessen fra idé til ferdig innredning.
Før
1. Behovsanalyse
Innredningsprosessen begynner med å identifisere familiens behov. For å bli mer bevisste på hvilke funksjoner de ønsker at stuen skal ha, svarer Sofie og Jakob på de fem spørsmålene og det ekstra bonusspørsmålet som du ble kjent med i modul 5:
HVEM skal bruke rommet?
– Sofie, Jakob og våre to barn.
HVA skal dere bruke rommet til?
– Vi bruker rommet til å slappe av, lese og leke, samt når vi har gjester. Vi oppbevarer også mye leketøy og mange bøker her.
NÅR på dagen bruker dere primært rommet?
– På hverdagene bruker vi stuen mest om ettermiddagen/kvelden, men i helgene er vi her også tidligere på dagen.
HVOR kommer sollyset inn?
– Vinduet vender mot øst, så vi har mye morgensol, men ikke så mye lys om kvelden.
HVILKEN stemning vil dere gjerne skape i rommet?
– Rolig og avslappende.
+ BONUS: HVA ER DET BESTE OG VERSTE VED ROMMET?
– Det er en relativt liten stue til en familie på fire. Det beste er takhøyden på tre meter.
Resultat
- En av de største utfordringene er å få nok oppbevaringsplass til familiens ting.
- De vil også gjerne ha god nok plass til gjester, og komfortable plasser når begge de voksne vil kose seg med en god bok.
Dermed blir listen over behov og ønsker for stuen slik:
- Fin og praktisk oppbevaringsplass til mange bøker og leketøy, samt plass til å sette frem pyntegjenstander og ting vi er glad i.
- Sofakrok til kos og hyggelig samlinger.
- En god leseplass i tillegg til sofaen.
Deretter vurderer Sofie og Jakob om det skal skje noen mer generelle forbedringer i rommet. Etter å ha tatt for seg sjekklisten i modul 5 blir de enige om at det eneste som skal til er maling av veggene. Alt annet fungerer fint som det er.
Oppussingselementer
- Veggmaling
2. Moodboard
Nå er det tid for å finne frem til selve stilen stuen skal ha. Sofie og Jakob setter seg ned med listen over stemningsord i modul 6, snakker sammen om preferansene sine, og setter kryss ved de ordene som er viktigst for dem.
Paret ønsker seg ikke en stue som er spesielt trendy og fylt med splitter nye ting. De vil at rommet skal tåle lek, søl og liv. Etter å ha gått gjennom listen og funnet de ordene de syns harmonerer best med egne behov, ender de opp med følgende:
- Avslappet
- Hyggelig
- Lyst
- Luftig
- Tidløst
Med de ordene i bakhodet begynner de å jobbe med moodboardet.
Sofie og Jakob har allerede bestemt at de vil beholde både sofaen og sofabordet sitt, så det første de gjør er å finne bilder av lignende møbler på nettet og sette dem inn på moodboardet. På den måten sikrer de at den visjonen de har for rommet vil henge sammen med de eksisterende elementene.
I modul 3 kom Sofie og Jakob frem til at favorittfargene deres er nyanser av grønt og blått, og Sofie har en spesiell forkjærlighet for eukalyptus. Både duften og fargen tiltaler henne, så hun setter et bilde av en eukalyptuskvist på moodboardet for å få inn den vakre fargen.
Et bilde av et sofaområde med en blålig vegg blir også festet til tavlen siden fargene treffer godt. Samtidig føyer de til et utklipp av en vegg fylt med hyller. De velger det både på grunn av hylleløsningen og den blå veggfargen.
Et brett av messing blir med for å tilføre litt varme til de kalde fargene.
For å sikre at uttrykket blir tidløst, tilsetter de en bit grått ullstoff som et nøytralt element de kan bruke i løse tekstiler, samt en turkis farge som skal understreke de blå og grønne tonene de er så glad i.
De vil også ha med noe mønstret, og legger til en prikket tallerken som gir moodboardet mer liv og bryter med de mange matchende elementene.
Nå vet Sofie og Jakob hvilket visuelt uttrykk de er ute etter, men før de kan begynne jobben med å tolke moodbordet inn i konkrete møbler, må de finne frem tommestokken.
3. Oppmåling
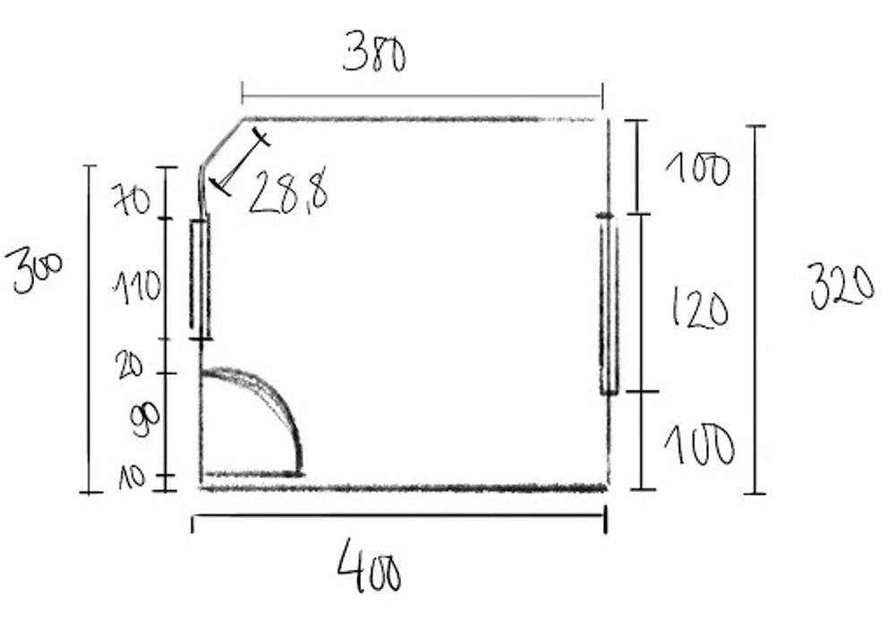
For å få overblikk over de fysiske rammebetingelsene de må forholde seg til når de skal innrede stuen på nytt, må Sofie og Jakob måle opp stuen.
Først måler de alle lengdene på rommets fem vegger og lager en plantegning. Deretter kontrollerer de målene på vegger med dører og vinduer, og til slutt måler de høyden fra gulv til tak og vinduenes plassering på veggene og lager en tegning av veggene sett rett forfra.
Nå starter Sofie og Jakob med å skisse forskjellige utkast til planløsninger. Utgangspunktet for skissene er drømmen om en hel hyllevegg som skal løse oppbevaringsproblemene deres.
De velger å plassere hyllene på den veggen der sofaen har stått, siden det er den eneste veggen uten vinduer eller dører.
Vis-à-vis hylleveggen tegner de inn sofaen og sofabordet i en fin kosekrok. For at de skal få bedre plass til gjester vil de også ha en lenestol, helst i en blå nyanse.
Plutselig har de fått masse tom plass under vinduet som er innfelt i veggen inn mot det tilstøtende rommet. Den kan brukes til å oppfylle ønsket om en ekstra leseplass, og de tegner inn en daybed. Den kan ha en maks lengde på 190 cm for å passe inn, og det skriver de ned på papiret med spesifikke møbelmål som de skal bruke når de lager inventarlisten.
Siden rommet for det meste brukes på kveldstid hvor det er lite naturlig lys, tegner de også inn fem lyskilder i rommet (markert med et kryss i en sirkel). Både rundt sofaen, ved daybedden og på hyllene.
Siden stuen ikke er så stor, må møblene i all hovedsak plasseres langs veggene. De bestemmer derfor at de vil ha et stort gulvteppe som skal samle rommet. Dessuten trenger de gardiner til de store vinduene.
Nå som den overordnede planløsningen er klar, kan de begynne på tegningene av hylleveggen de skal bygge selv.
Før de starter skaffer de seg overblikk over hva hyllene skal romme. De store tingene blir målt, blant annet måler de et bilde og ca. hvor mange meter bøkene fyller for å være sikre på at de får plass nok.
Etter hvert som de tegner, ser de at det blir rikelig med plass til bøker og pyntegjenstander, og derfor tegner de inn en liten benk til barna som en del av hylleveggen.
For å gjemme unna barnas leketøy, tegner de inn tre store kasser som passer innunder hyllesytemet. Her kan lekene ryddes bort i en fei, men samtidig være lett tilgjengelige.
Etter pirkearbeidet med å dobbeltsjekke alle målene på hyller og kasser, lager de en nøyaktig liste over de hvor mye treverk de trenger til hyller og kasser, samt hvor mange hylleknekter de må ha.
4. Møbelvalg
Så skal shoppingen planlegges, og de starter med en visuell inventarliste.
Først setter de inn de møblene som de skal ha med videre.
I tillegg til sofaen og sofabordet fører de opp gulvlampen, samt to bordlamper som kan stå på hyllene og som vil passe fint inn i stilen. En arvet sakselampe i valnøtt overlever også makeover-prosessen, og dermed kan de krysse av for fire av de fem lyskildene på plantegningen.
Ut fra plantegningen sin skriver de nå ned hvilke møbler de mangler, og hvilke mål de forskjellige tingene skal ha.
De ender med følgende shoppingliste:
- Lenestol
- Gulvteppe, ca. 200 x 150 cm
- Daybed – maks lengde 190 cm
- Vegglampe
- Veggmaling
- Nye puter
- Treverk til hyller og skuffer + hylleknekter
VISUELL INVENTARLISTE
- Veggen og hyllene skal males i en dempet lyseblå tone slik at hele veggen blir en ensfarget helhet. Det skaper sammenheng og tilfører rommet noe nytt. Resten males hvitt.
- Paret velger en loungestol i en blågrønn nyanse som binder den mørkegrønne velursofaen sammen med den lyseblå veggfargen de har valgt.
- De velger ut en praktisk, justerbar vegglampe i et tidløst design som skal henge ved daybedden der de skal ha den nye, ekstra lesekroken.
- Et gulvteppe i en nøytral gråfarge samler rommet og lar fokuset være på møbler og hyllevegg.
- Sofies ønske om et mønster som bryter opp litt, ender opp i en hjemmesydd pute som er enkel å skifte ut når de får lyst på litt forandring.

Shoppinglisten + listen over de tingene de har fra før, ser altså slik ut:
Shoppingliste
- Gulvteppe, «Fenris», 140 x 200 cm, Fabula Living
- Loungestol fra Normann Copenhagen
- Daybed, «Turn», fra Ferm Living
- Vegglampe fra Gubi
- Stoff med «klattemønster» til putetrekk, Stoff & Stil
- Hylleknekter og hyller/treverk fra et byggemarked
- Lyseblå veggmaling fra en fargehandler
Behold-liste
Sofa fra Hay
Gulvlampe, «Panthella» fra Louis Poulsen
To bordlamper: «The Standard» fra Menu + «Carronade» fra Le Klint
Bønneformet sofabord i valnøtt
Le Klint sakselampe i valnøtt
Pyntegjenstander i messing













